雷达财经出品 文|周慧 编|深海
9月28日,一则关于昔日首富王健林的消息,引发广泛关注。
天眼查资料显示,近日,大连万达集团股份有限公司(下称“万达集团”)及其法定代表人王健林等被限制高消费,相关案件执行标的为1.86亿元,执行法院为甘肃省兰州市中级人民法院。
根据相关规定,限制高消费意味着,王健林不得乘坐飞机、列车软卧、轮船二等以上舱位。
当日下午,万达集团相关人士就此事回应媒体采访时称,“此次是由于万达下属项目公司经济纠纷导致的。事实上之前双方一直在通过多种方式协商解决,我们也正在了解具体情况,本次或因执行层面信息不对称。”
这一突然的“限高”消息不仅让这位前首富站在了风口浪尖之上,也使其打造的商业地产帝国——万达集团背后的高额债务问题再一次暴露在公众视野之中。
大连万达集团股份有限公司股权冻结信息达47条,被冻结股权的标的企业涉及大连万达商业管理集团股份有限公司(下称“万达商管”)、万达文化产业有限公司、大连万达集团商务服务有限公司等。万达商管2024年三季度报显示,公司负债合计已高达2990.30亿元。
据不完全统计,为了应对高额债务难题,2023年至2024年间,王健林陆续出售了超30座万达广场,2025年以来也有7座万达广场被出售。
此外,王健林试图通过重新布局文旅产业来走出困境。自2023年以来,王健林已赴多地洽谈文旅项目,今年8月20日,王健林还现身新疆克拉玛依考察独子山大峡谷等旅游资源。
昔日首富因“1.86个小目标”被限高
9月28日,昔日首富“王健林被限制高消费”登上热搜,引起了广泛关注。
天眼查显示,9月26日,万达集团及其法定代表人王健林被甘肃省兰州市中级人民法院执行限制高消费措施。
雷达财经了解到,限制高消费是指法院对未履行法院判决、裁定或调解协议的债务人在消费方面进行的某些限制措施。这些限制主要针对债务人的非生活和工作必需的高消费行为,例如被执行人不得乘坐飞机、列车软卧、轮船二等以上舱位。
而触发此次限高令的,是一起标的金额 1.86 亿元的强制执行案件。天眼查案件审理流程显示,2025年7月16日,万达集团、武汉万达文旅置业有限公司、武汉楚河汉街文化旅游投资有限公司、万达地产集团有限公司、王某2,曲某,刘某,王某1被兰州中级人民法院列为被执行人,执行金额为1.86亿元。
据每日经济新闻,有万达集团相关知情人称,“此次是由于万达下属项目公司经济纠纷导致,事实上之前双方一直在通过多种方式协商解决,我们也正在了解具体情况,本次或因在执行层面信息不对称导致。”
值得注意的是,这并非万达集团高管今年首次“被限高”。早在今年7月,万达商管及其法定代表人张春远,就因未按执行通知书指定的期间履行生效法律文书确定的给付义务而被限制高消费,涉及建设工程施工合同纠纷案件。
另据中国执行信息公开网显示,大连万达集团股份有限公司新增一则被执行人信息,执行标的4亿余元,执行法院为北京金融法院,立案时间为2025年9月8日。
天眼查显示,截至9月28日,万达集团股权冻结信息已达47条,同时存在10条被执行人信息,总金额达52.63亿元。
巨额债务压顶
被限制高消费背后,近年来,万达集团及其旗下公司面临着巨额的债务压力。
据万达商管2024年第三季度财务数据,截至2024年9月底,万达商管一年内到期的非流动负债约400.84亿元,短期借款约38.89亿元,长期借款约1064.61亿元,应付债券约61.91亿元,流动负债合计约914.19亿元。
同期,公司流动资产合计为1280.54亿元,其中货币资金151.16亿元,应收账款23.53亿元,持有待售资产25.88亿元。
万达集团高额债务问题可以追溯至2016年的对赌协议。因万达在港股估值低迷,王健林遂决定万达从港股退市去冲击A股,并大胆签订了“对赌协议”。但因监管政策改变,万达集团未能上市成功。
从2016至2023年,王健林先后进行了三次上市对赌,然而这三次对赌均以失败告终,且每次失败都让万达的债务负担愈发沉重。
此外,频繁的股权冻结也使万达集团的债务问题雪上加霜。据观察者网报道,近期,北京金融法院先后冻结万达旗下上海万达网络金融、上海万达小额贷款等核心平台股权合计超 94 亿元,冻结期限为三年。
相关分析人士指出,“直接原因是债务问题,每一次股权冻结几乎都对应一笔到期未清偿的债务,涉及银行贷款、信托计划等。”
面对持续加剧的资金压力,万达集团开展了大规模资产处置。其中,5月份,国家市场监督管理总局批准了由太盟、高和丰德、腾讯、京东潘达、阳光人寿等机构组成的联合体对大连万达商管旗下48家目标公司的收购案,涉及全国39个城市的48座万达广场。
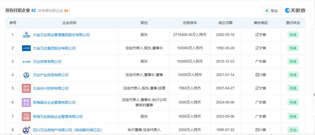
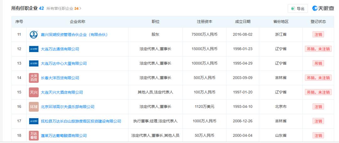
天眼查显示,截至目前,王健林任职的42家公司中,仅剩剩10 家处于存续状态,其余均已吊销或注销。
文旅赛道是“救命稻草”吗?
自2018年10月,融创进一步收购原万达文旅集团和13个文旅项目的设计管理团队后,文旅产业已成为万达集团资金危机中最先被剥离的板块。
然而,近年来,王健林却带领着万达展开新一轮的文旅布局。2022年底,万达集团表示,公司在文旅产业的新方向是“弃重从轻”:不投入大规模资金,依靠品牌IP、企业管理运营能力来提升景区、目的地影响力。
雷达财经注意到,2023年8月3日,万达集团官方公告,原万达文化集团更名为万达文旅集团,且自2023年以来,王建林已先后赴河南洛阳、贵州荔波县等地考察,每一次均伴随文旅合作洽谈。
而在今年8月20日至21日,万达集团董事长王健林曾现身新疆克拉玛依,考察文旅项目。提及独山子大峡谷等资源,王建林表示,“克拉玛依就像是新疆的一颗明珠,这里的旅游资源丰富,独山子大峡谷、世界魔鬼城景区在中国乃至世界都是独有的。……我们也正在探讨和克拉玛依合作的可能性,我们是有兴趣,我们这几方一起合作,全面提升克拉玛依。”
然而,万达重新入局文旅产业的道路却并不顺利,此前洽谈的文旅项目也未取得实质性进展。
如万达曾在2023年6月与大同市政府签署了涵盖大同古城文旅项目、商业综合体等项目的全面战略协议,但在后续官方关于大同古城建设进展的通报中,却未再提及万达文旅的参与。
此外,有相关分析人士指出,万达集团所提出的“轻资产服务平台”模式,在当下市场环境中竞争难以真正实现稳定的收益。轻资产模式在本质上是文旅咨询服务的延伸,通过输出品牌、管理和运营换取服务费。但在景区类项目中,轻资产方高度依赖合作方的执行能力,难以深度掌控景观资源、客流与定价权,常常面临权责错配、收益不稳等问题。
上述分析人士指出,“文旅运营能力储备不足”与“商业地产路径依赖”的矛盾是万达文旅目前面临的最大挑战,“若继续受制于路径依赖和人才断层,即便布局文旅业务,也难以真正走出债务与战略困境。”
从“1个亿的小目标”到如今被限高,债台高筑的昔日首富王建林能否靠再入文旅产业走出债务困境,雷达财经将持续关注。
实体配资公司提示:文章来自网络,不代表本站观点。